Ford dezvoltă un sistem de detectare a trenurilor pentru a spori siguranța la trecerile de cale ferată

Ford a depus un brevet pentru un sistem care poate detecta trenurile care se apropie. Sistemul ar fi capabil să alerteze șoferii de un potențial pericol și să-i ajute să evite eventualele coliziuni.
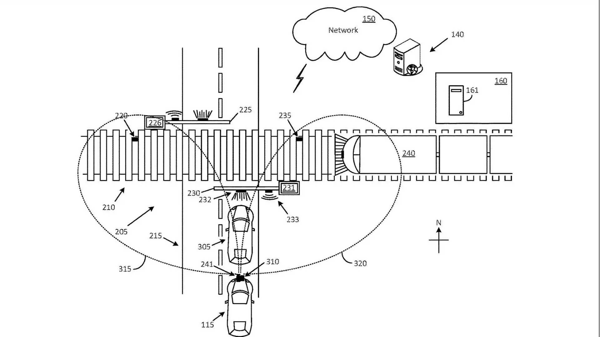
Ford a obținut un brevet pentru a preveni ca vehiculele să rămână blocate la trecerile de cale ferată, unde pot fi lovite de un tren care se apropie. În astfel de scenarii, trenul prevalează de obicei în cazul coliziunii. Brevetul este conceput pentru a detecta dacă o locomotivă se îndreaptă spre vehicul.
Brevetul este alcătuit din două componente distincte. Înainte și după ce mașina trece pe la trecerea de cale ferată, un senzor este plasat pe șine. În plus, automobilul are un detector care este responsabil pentru detectarea semnalelor de la senzorii de pe calea ferată.
Senzorii dubli poziționați pe șinele de cale ferată sunt folosiți pentru a se asigura că trenul a părăsit complet intersecția. De asemenea, tehnologia este capabilă să determine dacă locomotiva s-a oprit, dacă face cale întoarsă sau dacă a părăsit complet zona.
Ford prezintă o modalitate mai puțin complexă de utilizare a acestei idei. Cu ajutorul camerelor sau a unui sistem lidar încorporat într-un automobil, acesta poate detecta bara transversală sau semnele de avertizare de la o trecere la nivel cu calea ferată, pentru a determina dacă un tren este pe drum.
Tehnologia pe care Ford o analizează ar putea fi utilizată în cazul vehiculelor care se conduc singure. Aceasta ar contribui la reducerea numărului de momente în care șoferii trebuie să preia controlul volanului, deoarece mașina ar avea capacitatea de a se opri automat dacă întâlnește o trecere la nivel cu calea ferată.
Brevetul detaliază o abordare de transmitere a informațiilor între mașini, care ar putea avertiza șoferii că trebuie să oprească la o trecere de pietoni înainte de a ajunge la ea. În plus, datele ar fi trimise serviciilor de urgență pentru a le ajuta să ocolească zona dacă se grăbesc foarte tare.
În ceea ce privește brevetele, nimeni nu poate garanta că Ford va utiliza într-adevăr sistemul de detectare a trenurilor sau când ar putea fi inclusă această tehnologie într-o mașină. Producătorii înregistrează acest tip de idei pentru a se asigura că sunt protejate în mod corespunzător.








